Branchen
Technische Wertigkeit und Produktqualität gehen über eine exzellente Funktionalität hinaus. Es stellt einen enormen Mehrwert dar, wenn auch diese Dimension bei einem Produkt angesprochen wird. Dazu müssen Anforderungen detailliert analysiert, strukturiert und in konkrete Spezifikationen für Bauteile übersetzt werden. Helbling setzt das mit Methoden wie Robust Design um, wobei mechatronische Systeme entstehen, die überzeugen und zugleich zu kompetitiven Kosten herstellbar sind.
Mechatronische Systeme müssen heute mehr leisten als nur ihre Grundfunktion zu erfüllen. Die primäre Funktion eines Produkts, wie das Fortbewegen mit dem Auto oder das Frischhalten von Lebensmitteln im Kühlschrank, bleibt zwar entscheidend. Doch allein durch diese Kernfunktion lässt sich am Markt kein bleibender Eindruck schaffen.
Ein typisches Beispiel: Das Schliessen einer Tür bei einem Fahrzeug oder beim Kühlschrank. Was technisch banal klingt, hat grossen Einfluss auf die subjektiv empfundene Qualität. Ein gleichmässiger, leichtgängiger Kraftverlauf und ein dumpf-sattes Schliessgeräusch ohne Klappern vermitteln dem Nutzenden einen hochwertigen Qualitätseindruck. Solche Eindrücke werden unter dem Begriff technische Wertigkeit zusammengefasst: ein Schlüsselmerkmal für erfolgreiche Produkte, die sich am Markt abheben.
Helbling nutzt Entwicklungsmethoden wie Robust Design mit dem Ziel, für Kunden aus unterschiedlichen Branchen Produkte mit genau dieser hohen Wertigkeit zu entwickeln. Hierbei sind Projekterfahrungen oft von einem Bereich auf den anderen übertragbar. Helbling-Fachleute bringen zudem nicht nur ihr Wissen aus vergangenen Entwicklungsarbeiten ein, sondern vereinen auch Know-how aus unterschiedlichen Fachbereichen. Im Zusammenspiel von Mechanik, Elektronik und Software entstehen Lösungen, die der Funktionalität eine neue Dimension hinzufügen.
Konkret folgt die methodische Entwicklungsarbeit bei Helbling einem klaren und nachvollziehbaren Plan, der als Toolbox herangezogen wird.
A. Anforderungen früh präzisieren und systematisch in überprüfbare, technische Vorgaben auf Komponenten herunterbrechen.
B. Bereits in den frühen, kreativen Entwicklungsphasen Robustheitsaspekte einfliessen lassen.
C. Eindeutige Spezifikation von Einzelteilen mittels ISO GPS erarbeiten.
D. Herausforderende und somit teure Toleranzanforderungen frühzeitig verhindern.
A. Verständnis der Funktionen bestimmt die Lösung
Als Anschauungsbeispiel kann ein Kühlschrank dienen. Generell verschliesst eine Tür eine Öffnung immer nur temporär, wobei sie beim Kühlschrank Lebensmittel kühl hält, Zugriff bei geöffnetem Zustand ermöglicht und Energie- sowie Luftaustausch im geschlossenen Zustand minimiert.
Die erste Anforderung lautet somit noch abstrakt: „Luftstrom am Spalt minimieren“. Diese Aussage ist lösungsneutral und ermöglicht verschiedene technische Lösungen, ist aber zu generisch für eine Verifikation.

Im Beispiel des Kühlschranks wird dazu in der Regel eine umlaufende Gummidichtung gewählt, um die Funktion „Luftstrom am Spalt minimieren“ zu erreichen. Daraus lassen sich klare und messbare Anforderungen an die betroffenen Komponenten Türblatt, Zarge, Scharnier/Schloss und Dichtung ableiten.
Genau hier setzt methodische Entwicklungsarbeit an: Anforderungen müssen präzisiert und systematisch in überprüfbare, technische Vorgaben auf Komponenten-Stufe heruntergebrochen werden.
Im nächsten Schritt erfolgt der Übergang von der neutralen Formulierung zur konkreten technischen Lösung. Eine weiche Dichtung erlaubt eine grössere Variation vom Spaltmass im geschlossenen Zustand. Bei zu geringer Kompression der Dichtung besteht die Gefahr, dass ein zu grosser Luftaustausch stattfindet. Eine zu starke Kompression erzeugt eine zu hohe Schliesskraft und somit eine verminderte technische Wertigkeit.
Eine möglich Lösung kann erreicht werden mittels genauer Toleranzen bei den jeweiligen Komponenten, wie Ebenheitsanforderungen am Türblatt und der Zarge. Ausserdem müssen die Scharniere die Tür möglichst parallel zur Zarge führen, egal wie viele Getränkeflaschen in den Türregalen stehen. Diese genauen Toleranzen führen üblicherweise zu teuren Fertigungsverfahren, aufwändigen Qualitätskontrollen und somit teuren Komponenten.
B. Robust Design ebnet den Weg für robuste Alternativen
Fliesst der Robust-Design-Blickwinkel bereits in den frühen, kreativen Entwicklungsphasen mit ein, finden sich oft Lösungen, die implizit unempfindlich auf Variationen sind. Meist fällt auch die spätere Verifikation solcher Konzepte deutlich effizienter aus, da zum Beispiel keine Grenzmuster notwendig sind.

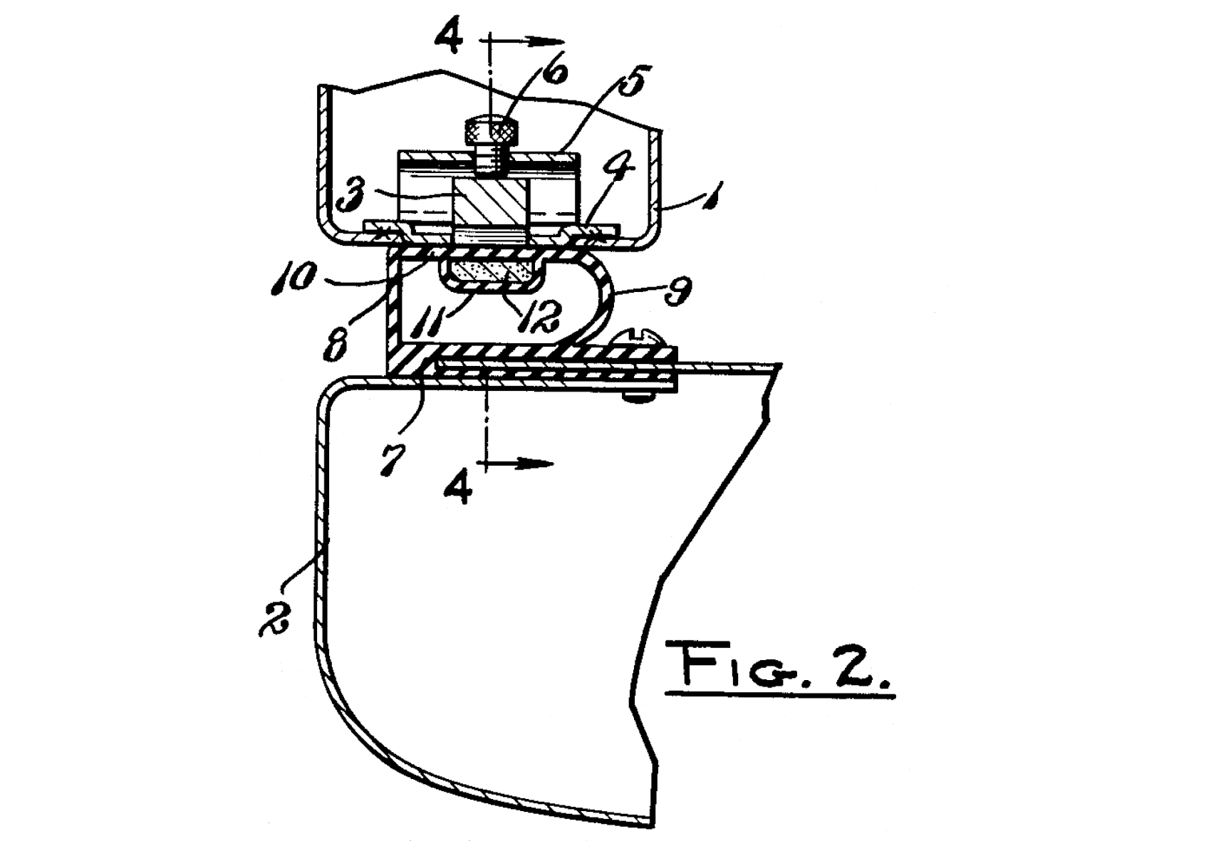
Image: US Patent 2659114, 1953
Deutlich eleganter ist in diesem Sinne die Verwendung eines Magnetstreifens innerhalb der Dichtung. Im geschlossenen Zustand wird damit die Dichtung an die Zarge gezogen und erlaubt damit grosszügigere Toleranzen und kostengünstigere Komponenten, ohne an der Funktion und Wertigkeit Abstriche machen zu müssen. Durch den Magnetstreifen wird das Spaltmass weniger anfällig für Variation. Dieser Ansatz ist ein exzellentes Beispiel dafür, wie robustes Design dabei hilft, hochwertige Produkte zu entwickeln, die trotzdem nicht teuer sein müssen.
C. Standardisierte Spezifikationen vereinfachen den Prozess
Dank der sogenannten Geometrischen Produktspezifikation (kurz ISO GPS) können die notwendigen Anforderungen wie etwa Ebenheit schliesslich auf Einzelteilzeichnungen in einer standardisierten Sprache festgehalten werden. Im weiteren Verlauf können Fachleute aus Entwicklung, Fertigung und Qualitätssicherung diese einheitlich verstehen und umsetzen. Die erforderlichen Spezifikationen ergeben sich aus den funktionellen Anforderungen, die sich auf übergeordnete Anforderungen beziehen.
D. Toleranzen so klein wie nötig und so gross wie möglich festlegen
Oft basieren Toleranzen auf Bauchgefühl kombiniert mit deutlicher Reserve. Diese Vorgehensweise erzeugt höhere Herstellungskosten und kann kaum argumentativ gerechtfertigt werden, werden die Vorgaben nicht erreicht. Dank Robust Design funktionieren Produkte auch mit grosszügigeren Toleranzen, welche durch Helbling-Fachleute direkt auf den Anforderungen basierend festgelegt werden.
Zusammenfassung: Eine präzise Analyse der Anforderungen ebnet den Weg für robuste Lösungen
Der Weg von der Idee zum fertigen Produkt führt über viele Schritte und bedarf der Abstimmung einer ganzen Reihe von Komponenten und Schnittstellen. Das gilt erst recht für die Fälle, in denen neben strikt funktionalen Anforderungen auch solche in Bezug auf die technische Wertigkeit erfüllt werden sollen. Helbling kann auf viele Jahre Erfahrung und eine praxiserprobte Toolbox zurückgreifen, um diese Komplexität zu meistern, dabei den Kostenrahmen im Blick zu behalten und Entwicklungsverzögerungen zu vermeiden.
Schon einmal mit einem Magneten die Dichtung am eigenen Kühlschrank getestet? So einfach lässt sich Robust Design erleben.
Autor: Martin Ziegler
Hauptbild: Helbling




